首页
伤感说说
动漫配图
心情说说
抖音文案
伤感图片
伤感说说:
伤感的句子说说心情
空间说说
心情说说
爱情说说
女生伤感说说
人生感悟
心情不好的说说
说说带图片
关于生活的说说
说说心情短语
qq空间说说带图片
个性说说
励志名言
一句话经典语录
感悟人生的经典句子
短句吧
情感故事
抖音文案
伤感图片:
伤感图片带字
非主流伤感图片
唯美伤感图片
女生伤感图片
唯美意境图片
悲伤的图片
唯美意境伤感图片
只有字的伤感图片
说说图片
伤心的图片
美甲图片
图片大全
情感图片
微信头像男
动态壁纸
动漫配图
伤感图片
首页
>
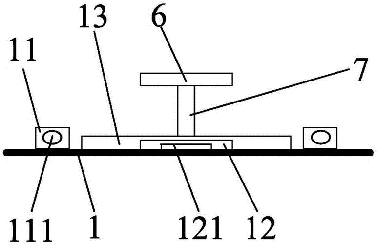
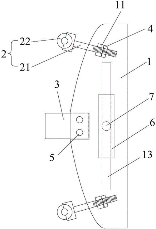
圆柱基础倒角器
圆柱基础倒角器,混凝土倒角器
圆柱型混凝土基础倒角器的制作方法
圆柱型混凝土基础倒角器制造技术
倒角加工,可广泛应用于汽车,摩托车,拖拉机,工程,烟草机械及机器制造
厂家直销倒角盘 ,倒脚盘,圆珠倒角机配件
请问cad两个直角圆柱的倒角如何倒?
更多推荐
混凝土倒角器
圆形倒角器
铁塔基础倒角器
电力基础倒角器
混凝土基础倒角器
圆管倒角器
外圆倒角器
内圆手动倒角器
倒角器
管口倒角器
外倒角器
倒角器45度
倒角器规格
手用倒角器
专用内孔倒角器
混凝土基础倒角图片
倒角神器
倒角器图片
电力基础倒角图片
手动倒角器45度
什么是倒角
倒角
小型瓷砖倒角器
倒角剖面
螺纹倒角
电力基础施工倒角图片
瓷砖倒角器45度
倒角机
瓷砖倒角器价格
倒角怎么标注