首页
伤感说说
动漫配图
心情说说
抖音文案
伤感图片
伤感说说:
伤感的句子说说心情
空间说说
心情说说
爱情说说
女生伤感说说
人生感悟
心情不好的说说
说说带图片
关于生活的说说
说说心情短语
qq空间说说带图片
个性说说
励志名言
一句话经典语录
感悟人生的经典句子
短句吧
情感故事
抖音文案
伤感图片:
伤感图片带字
非主流伤感图片
唯美伤感图片
女生伤感图片
唯美意境图片
悲伤的图片
唯美意境伤感图片
只有字的伤感图片
说说图片
伤心的图片
美甲图片
图片大全
情感图片
微信头像男
动态壁纸
动漫配图
伤感图片
首页
>
抓斗工作原理示意图
抓斗工作原理示意图,喷泉工作原理示意图
u7重型3立方机械抓斗 抓取铁皮矿石等 15t船吊用抓具610滑轮
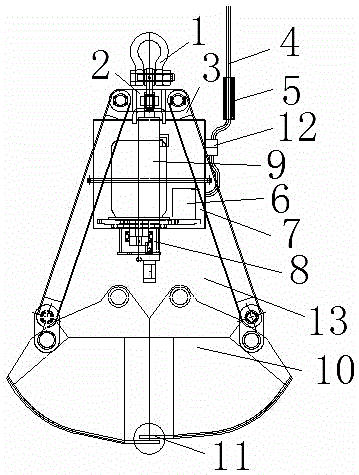
工作原理:四绳抓斗由撑杆,颚板及横梁组成.
重起天津起重设备图垃圾抓斗起重机天津抓斗
cn204873481u_一种酒糟专用电液抓斗失效
供应亚重u44重型1立方抓取松散物带齿5t天车专用四绳抓斗
更多推荐
喷泉工作原理示意图
隔膜泵工作原理示意图
气动阀工作原理示意图
单绳抓斗的工作原理图
电动机工作原理示意图
空调工作原理示意图
冷却塔工作原理示意图
马桶工作原理示意图
气缸的工作原理示意图
脉冲阀工作原理示意图
空冷器工作原理示意图
提升阀工作原理示意图
壁挂炉工作原理示意图
取力器工作原理示意图
计算机工作原理示意图
nmos工作原理示意图
吸尘器工作原理示意图
汽油泵工作原理示意图
煤粉炉工作原理示意图
废气阀工作原理示意图
望远镜工作原理示意图
抓斗的液压原理图
单绳抓斗原理图
冷却塔工作原理图
抓斗原理动图
抓斗结构详细示意图
芯片工作原理图解
继电器工作原理接线图
取力器工作原理图解
预作用报警阀工作原理