首页
伤感说说
动漫配图
心情说说
抖音文案
伤感图片
伤感说说:
伤感的句子说说心情
空间说说
心情说说
爱情说说
女生伤感说说
人生感悟
心情不好的说说
说说带图片
关于生活的说说
说说心情短语
qq空间说说带图片
个性说说
励志名言
一句话经典语录
感悟人生的经典句子
短句吧
情感故事
抖音文案
伤感图片:
伤感图片带字
非主流伤感图片
唯美伤感图片
女生伤感图片
唯美意境图片
悲伤的图片
唯美意境伤感图片
只有字的伤感图片
说说图片
伤心的图片
美甲图片
图片大全
情感图片
微信头像男
动态壁纸
动漫配图
伤感图片
首页
>
台钻升降原理
台钻升降原理,台钻主轴升降原理
台钻主轴怎么校核我已经设计好,真心求助.搞定会追加的放心.
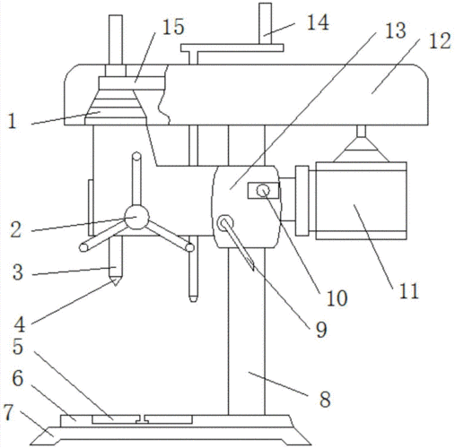
一种台式钻床制造技术
台钻的结构和工作原理 台钻的使用注意事项
彻底退烧 便宜甩卖一些工具 台钻平刨压抱电锯雕刻机还有各种夹子等等
背景技术:台式钻床简称台钻,是指可安放在作业台上,主轴竖直布置的
更多推荐
台钻主轴升降原理
台钻主轴升降原理图
台钻升降杆
台钻升降齿条
台钻手摇式升降原理图
台钻升降结构图
升降机原理
升降原理
台钻工作台升降结构图
老式台钻升降装置
升降杆原理
台钻升降轮的安装
升降杆原理图
升降桌原理
自制台钻升降杆图
升降椅原理
台钻主轴升降结构图
电动升降杆原理
台钻钻床
台钻钻孔
台钻水钻
升降椅原理图解
医用手摇升降床原理
升降床结构原理图
台钻结构图
台钻
小台钻
台钻手摇
多功能台钻
口红升降原理