首页
伤感说说
动漫配图
心情说说
抖音文案
伤感图片
伤感说说:
伤感的句子说说心情
空间说说
心情说说
爱情说说
女生伤感说说
人生感悟
心情不好的说说
说说带图片
关于生活的说说
说说心情短语
qq空间说说带图片
个性说说
励志名言
一句话经典语录
感悟人生的经典句子
短句吧
情感故事
抖音文案
伤感图片:
伤感图片带字
非主流伤感图片
唯美伤感图片
女生伤感图片
唯美意境图片
悲伤的图片
唯美意境伤感图片
只有字的伤感图片
说说图片
伤心的图片
美甲图片
图片大全
情感图片
微信头像男
动态壁纸
动漫配图
伤感图片
首页
>
抓斗图纸
抓斗图纸,抓斗制作图纸
u型四绳抓斗图纸参数1
起重机吊钩抓斗
20t吊索机械抓斗图纸
具有激光标记功能的高精度抓斗的制作方法
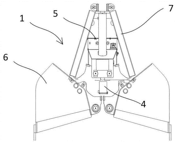
一种抓斗装置制造方法及图纸
更多推荐
抓斗制作图纸
抓斗
抓斗部件图解
抓斗结构详细示意图
抓斗式挖泥船
图纸图案
抓斗结构图
图纸效果图
抓斗简易图
图纸
抓斗机图片
机械图纸
液压抓斗
抓斗吊车
乐高图纸
抓斗吊
小型抓斗图片
小型抓斗
抓斗机
图纸设计
图纸可爱
抓斗船
建筑图纸
抓斗行车
看图纸入门
抓斗车
挖掘机抓斗
水电图纸入门看图
蚌式抓斗
图纸会审