首页
伤感说说
动漫配图
心情说说
抖音文案
伤感图片
伤感说说:
伤感的句子说说心情
空间说说
心情说说
爱情说说
女生伤感说说
人生感悟
心情不好的说说
说说带图片
关于生活的说说
说说心情短语
qq空间说说带图片
个性说说
励志名言
一句话经典语录
感悟人生的经典句子
短句吧
情感故事
抖音文案
伤感图片:
伤感图片带字
非主流伤感图片
唯美伤感图片
女生伤感图片
唯美意境图片
悲伤的图片
唯美意境伤感图片
只有字的伤感图片
说说图片
伤心的图片
美甲图片
图片大全
情感图片
微信头像男
动态壁纸
动漫配图
伤感图片
首页
>
液压梭阀图片
液压梭阀图片,液压溢流阀图片
三通液压梭阀 dn20 g3/4梭阀 液压锁 平衡阀 双向板式液压锁
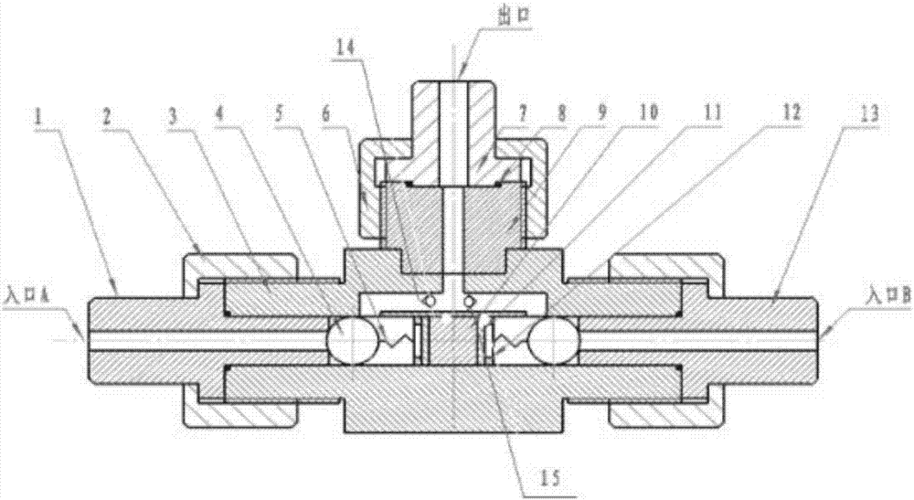
一种新型梭阀的制作方法
液压梭阀 梭阀 vu/sf-05-1 液压阀
上海vu/sf型梭阀
供应梭阀,螺纹旋入式梭阀,插装式梭阀,盖板专用梭阀,液压梭阀图片_5
更多推荐
液压溢流阀图片
液压节流阀图片
液压平衡阀图片
液压浮球阀图片
液压杆图片
液压抓斗图片
液压拉马图片
液压梭阀
梭阀图片
液压油管图片
液压车图片
液压支架图片
液压双向节流阀图片
液压油箱图片
液压栈桥图片
液压油图片
液压三通梭阀
液压制动器图片
液压原理图
液压溢流阀
液压平衡阀
液压控制阀
液压电磁阀
梭阀原理图
液压溢流阀工作原理图
液压图形符号
液压管
液压
长龄液压
液压油缸