首页
伤感说说
动漫配图
心情说说
抖音文案
伤感图片
伤感说说:
伤感的句子说说心情
空间说说
心情说说
爱情说说
女生伤感说说
人生感悟
心情不好的说说
说说带图片
关于生活的说说
说说心情短语
qq空间说说带图片
个性说说
励志名言
一句话经典语录
感悟人生的经典句子
短句吧
情感故事
抖音文案
伤感图片:
伤感图片带字
非主流伤感图片
唯美伤感图片
女生伤感图片
唯美意境图片
悲伤的图片
唯美意境伤感图片
只有字的伤感图片
说说图片
伤心的图片
美甲图片
图片大全
情感图片
微信头像男
动态壁纸
动漫配图
伤感图片
首页
>
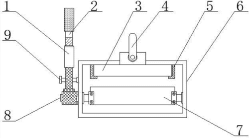
永磁起重器拆解
永磁起重器拆解,永磁吸盘原理图
一种永磁起重器的制作方法
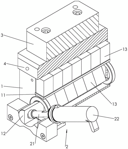
hlm5系列永磁起重器构成图解
河北省保定市永磁起重器06t永磁吸盘手动永磁机电磁铁强力起重器厂家
一种用于永磁起重器的转动杠杆的制作方法
一种起重专用的手杆可伸缩型永磁起重器制造技术
更多推荐
永磁吸盘原理图
强力永磁吸盘
永磁起重器
永磁吸盘
永磁起重器工作原理
永磁起重器拆解图片
永磁吸盘拆解图片
手动永磁吸盘拆解
永磁吸盘内部结构图
手动永磁吸盘内部图
永磁起重器内部结构
永磁曳引机拆解图
永磁吊具内部结构图
永磁起重器拆解维修图
永磁吸盘维修
永磁起重器原理
永磁起重器内部原理图
强力永磁吸盘维修
电永磁吸盘
永磁吸盘内部实体图片
手动永磁吸盘原理
永磁起重器内部结构图
永磁起重器原理图解
永磁吸盘拆解
手动永磁吸盘维修
电梯永磁同步电机拆解
永磁除铁器
永磁同步曳引机拆解
永磁曳引机内部拆解图
永磁耦合器