首页
伤感说说
动漫配图
心情说说
抖音文案
伤感图片
伤感说说:
伤感的句子说说心情
空间说说
心情说说
爱情说说
女生伤感说说
人生感悟
心情不好的说说
说说带图片
关于生活的说说
说说心情短语
qq空间说说带图片
个性说说
励志名言
一句话经典语录
感悟人生的经典句子
短句吧
情感故事
抖音文案
伤感图片:
伤感图片带字
非主流伤感图片
唯美伤感图片
女生伤感图片
唯美意境图片
悲伤的图片
唯美意境伤感图片
只有字的伤感图片
说说图片
伤心的图片
美甲图片
图片大全
情感图片
微信头像男
动态壁纸
动漫配图
伤感图片
首页
>
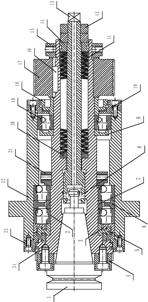
加工中心主轴结构
加工中心主轴结构,加工中心主轴中心出水
加工中心机械主轴结构的新设计
一种立式加工中心刀具主轴结构的制作方法
如何用solidworks画bt40的主轴结构 / 立式加工中心主轴结构原理
加工中心主轴结构介绍和模拟安装步骤图
加工中心主轴结构?
更多推荐
加工中心主轴中心出水
加工中心各按键图解
主轴结构图
卧式加工中心
bt40主轴拆卸图
加工中心图纸设计图
bt40主轴结构图
主轴拉刀碟簧安装步骤
BT40主轴
加工中心主轴拆解图
主轴拉刀爪怎么换图解
主轴结构
加工中心主轴装配图
主轴图纸
加工中心电主轴结构图
加工中心主轴安装图解
cnc主轴结构图片
加工中心结构图
加工中心主轴电机
五轴联动加工中心
五轴加工中心
加工中心齿轮头结构图
数控加工中心
加工中心
加工中心车床
立式加工中心
加工中心外观
加工中心车间
加工中心刀库
车铣复合加工中心