首页
伤感说说
动漫配图
心情说说
抖音文案
伤感图片
伤感说说:
伤感的句子说说心情
空间说说
心情说说
爱情说说
女生伤感说说
人生感悟
心情不好的说说
说说带图片
关于生活的说说
说说心情短语
qq空间说说带图片
个性说说
励志名言
一句话经典语录
感悟人生的经典句子
短句吧
情感故事
抖音文案
伤感图片:
伤感图片带字
非主流伤感图片
唯美伤感图片
女生伤感图片
唯美意境图片
悲伤的图片
唯美意境伤感图片
只有字的伤感图片
说说图片
伤心的图片
美甲图片
图片大全
情感图片
微信头像男
动态壁纸
动漫配图
伤感图片
首页
>
马达安装步骤图
马达安装步骤图,液压马达安装
步骤十,安装风扇挡圈. step10: install the fan snap ring.
2.4 更换新马达,安装输入齿轮
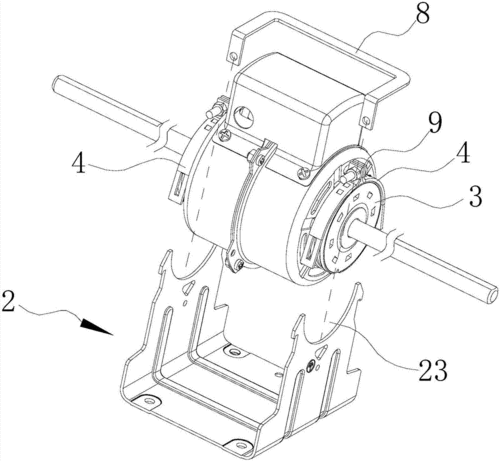
一种用u型支架安装的盘管风机电机的制作方法
gk37-157/gkab47-107斜齿轮弧齿锥齿轮减速电机安装形式图
电机安装图
更多推荐
液压马达安装
汽车马达安装位置图
12v启动马达接线图
启动马达接线图
马达接线图
小马达怎么接线
马达接线方法图片
马达如何接线图
马达组装图解
四驱车马达安装步骤图
玩具车马达组装图解
马达怎么组装图解
马达的结构及原理图
床安装步骤图
电脑安装步骤图
玩具车马达安装图
提升门安装步骤图
空调安装步骤图解
茶吧机安装步骤图
简易衣柜安装步骤图
挂式空调安装步骤图
橱柜安装详细步骤图
旋梭安装详细步骤
马达结构图
集成灶安装示意图步骤
美的吸尘器安装步骤图
一般布衣柜安装步骤图
启动马达线路图
货车淋水器安装步骤图
可视对讲机安装步骤图