首页
伤感说说
动漫配图
心情说说
抖音文案
伤感图片
伤感说说:
伤感的句子说说心情
空间说说
心情说说
爱情说说
女生伤感说说
人生感悟
心情不好的说说
说说带图片
关于生活的说说
说说心情短语
qq空间说说带图片
个性说说
励志名言
一句话经典语录
感悟人生的经典句子
短句吧
情感故事
抖音文案
伤感图片:
伤感图片带字
非主流伤感图片
唯美伤感图片
女生伤感图片
唯美意境图片
悲伤的图片
唯美意境伤感图片
只有字的伤感图片
说说图片
伤心的图片
美甲图片
图片大全
情感图片
微信头像男
动态壁纸
动漫配图
伤感图片
首页
>
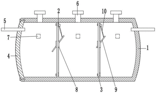
二格化粪池管道安装图
二格化粪池管道安装图,二格化粪池标准
不同结构砖砌和混凝土三格化粪池施工示意图如下: 保证有效容积
三格化粪池结构图解
三格化粪池结构图解
化粪池有哪些作用
智能化三格式化粪池的制作方法
更多推荐
二格化粪池标准
三格化粪池粪管安装图
二格化粪池简易结构图
二格化粪池示意图
二格化粪池水管安装图
三格化粪池粪管高低
化粪池做法
三格化粪池尺寸做法图
三格化粪池标准图片
农村化粪池怎么建
农村简单二格化粪池图
砖砌二格化粪池结构图
二格化粪池图片
二格化粪池标准图集
红砖二格化粪池图
二格化粪池内部图片
农村简单二格化粪池
二格式化粪池接管子图
二格化粪池实景图
二格化粪池尺寸施工图
二格化粪池做法图片
三格化粪池管道安装图
化粪池管道安装图
三格式化粪池接管子图
三格化粪池施工示意图
管道安装图纸
管道安装图集
农村三格化粪池下管图
化粪池结构图三格
水泥管道安装图片