首页
伤感说说
动漫配图
心情说说
抖音文案
伤感图片
伤感说说:
伤感的句子说说心情
空间说说
心情说说
爱情说说
女生伤感说说
人生感悟
心情不好的说说
说说带图片
关于生活的说说
说说心情短语
qq空间说说带图片
个性说说
励志名言
一句话经典语录
感悟人生的经典句子
短句吧
情感故事
抖音文案
伤感图片:
伤感图片带字
非主流伤感图片
唯美伤感图片
女生伤感图片
唯美意境图片
悲伤的图片
唯美意境伤感图片
只有字的伤感图片
说说图片
伤心的图片
美甲图片
图片大全
情感图片
微信头像男
动态壁纸
动漫配图
伤感图片
首页
>
触发引信
触发引信,触发式引信
引信引信用于起爆弹体,根据弹种的用途不同,配用的引信也各不相同.
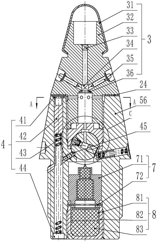
触发引信的构造和作用原理示意图 这类引信的结构类型比较多,以其中
机械引信的发展历程
具有自毁和擦地炸功能的旋转火箭弹弹头机械触发引信
机械式触发引信 当弹着角比较大时,惯性
更多推荐
触发式引信
瞬发引信
点燃引信
压电引信
药盘引信
触发引信制作
炮弹引信种类
引信
拉发引信
侵彻引信
炮弹引信
引信原理
子弹引信
引信爆炸
地雷引信
电子引信
近炸引信
引信结构
鞭炮引信
激光引信
延时引信
迫击炮引信
导弹引信
手榴弹引信
子弹引信原理
地雷引信原理
触发
引信结构图
炮弹引信原理图
触发条件