首页
伤感说说
动漫配图
心情说说
抖音文案
伤感图片
伤感说说:
伤感的句子说说心情
空间说说
心情说说
爱情说说
女生伤感说说
人生感悟
心情不好的说说
说说带图片
关于生活的说说
说说心情短语
qq空间说说带图片
个性说说
励志名言
一句话经典语录
感悟人生的经典句子
短句吧
情感故事
抖音文案
伤感图片:
伤感图片带字
非主流伤感图片
唯美伤感图片
女生伤感图片
唯美意境图片
悲伤的图片
唯美意境伤感图片
只有字的伤感图片
说说图片
伤心的图片
美甲图片
图片大全
情感图片
微信头像男
动态壁纸
动漫配图
伤感图片
首页
>
针阀式热流道
针阀式热流道,热流道系统结构图解
mlrld 模利热流道 多穴针阀式热嘴 针阀式热流道系统
一出四针阀式热流道
针阀式热流道图片大全
热流道针阀式
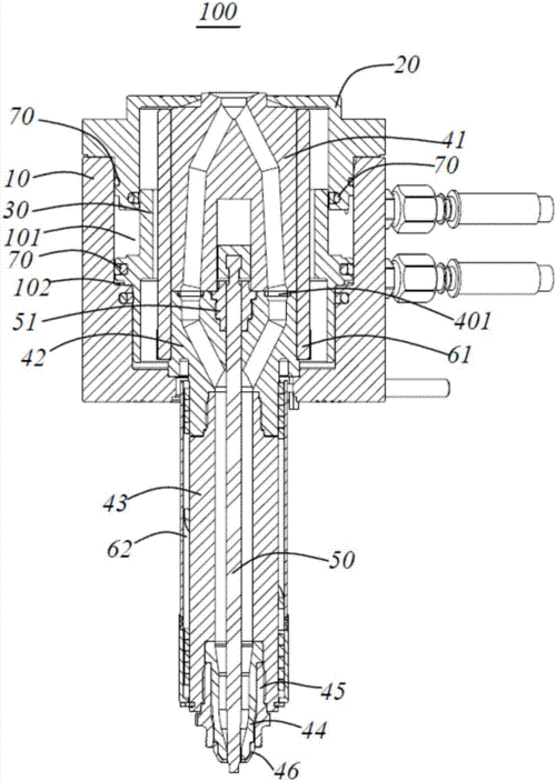
单点针阀式热流道系统的制作方法
更多推荐
热流道系统结构图解
针阀式热流道图解
热流道针阀式进胶
针阀式热流道结构图
热流道系统
气动针阀的原理图
针阀热流道
针阀式热流道工作原理
针阀热流道结构原理图
热流道
热流道示意图
热流道结构图
热流道阀针运动示意图
热流道结构
开放式热流道图片
开放式热流道结构图
针阀式油杯
热流道模具
热流道图片
热流道温控箱
热流道工作原理图
热流道模具结构
热流道三板模结构
热流道模具结构图
热流道模具图片
热流道温控箱接线图
针阀式油杯工作原理
针阀式油杯使用说明
针阀式油杯使用方法
注塑模具热流道图解