首页
伤感说说
动漫配图
心情说说
抖音文案
伤感图片
伤感说说:
伤感的句子说说心情
空间说说
心情说说
爱情说说
女生伤感说说
人生感悟
心情不好的说说
说说带图片
关于生活的说说
说说心情短语
qq空间说说带图片
个性说说
励志名言
一句话经典语录
感悟人生的经典句子
短句吧
情感故事
抖音文案
伤感图片:
伤感图片带字
非主流伤感图片
唯美伤感图片
女生伤感图片
唯美意境图片
悲伤的图片
唯美意境伤感图片
只有字的伤感图片
说说图片
伤心的图片
美甲图片
图片大全
情感图片
微信头像男
动态壁纸
动漫配图
伤感图片
首页
>
自锁螺母原理
自锁螺母原理,自锁螺母标准
日本号称"永不松动"的偏心式自锁螺母在中国的知识产权关系
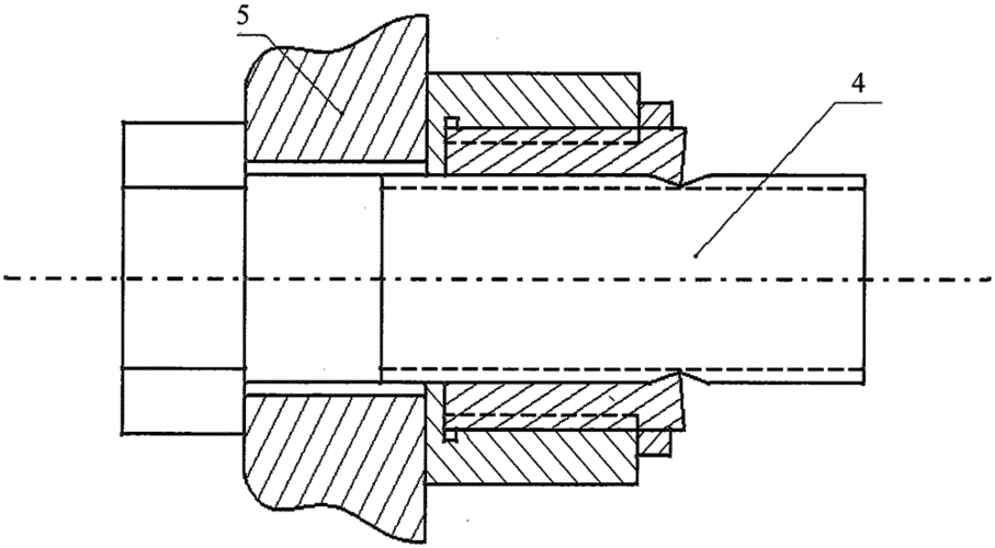
图2为本发明的工作原理图; 附图中各附图标记分别表示:(1)半通螺母,(2
不锈钢din980金属锁紧佛山销售 304防滑自锁螺母m6-m24 规格齐全
v型卡簧自锁螺母制造技术
304 316不锈钢锁紧螺母 自锁螺母
更多推荐
自锁螺母标准
带颈收口自锁螺母
自锁螺母图片
自锁螺母示意图
自锁螺母原理动态图
尼龙自锁螺母原理
防松螺母原理
自锁螺母
自锁开关原理
自锁接线图及原理
自锁互锁原理和电路图
自锁互锁
自锁开关机械原理
永不松动的螺母原理图
接触器自锁接线图原理
交流接触器自锁原理
自锁控制电路图及原理
自锁器
自锁
自锁开关结构
螺丝螺母
螺栓螺母
金属自锁
螺杆螺母对照表
自锁电路
接触器自锁互锁接线图
自锁机构
自锁开关
自锁电路图
传统自锁托槽