首页
伤感说说
动漫配图
心情说说
抖音文案
伤感图片
伤感说说:
伤感的句子说说心情
空间说说
心情说说
爱情说说
女生伤感说说
人生感悟
心情不好的说说
说说带图片
关于生活的说说
说说心情短语
qq空间说说带图片
个性说说
励志名言
一句话经典语录
感悟人生的经典句子
短句吧
情感故事
抖音文案
伤感图片:
伤感图片带字
非主流伤感图片
唯美伤感图片
女生伤感图片
唯美意境图片
悲伤的图片
唯美意境伤感图片
只有字的伤感图片
说说图片
伤心的图片
美甲图片
图片大全
情感图片
微信头像男
动态壁纸
动漫配图
伤感图片
首页
>
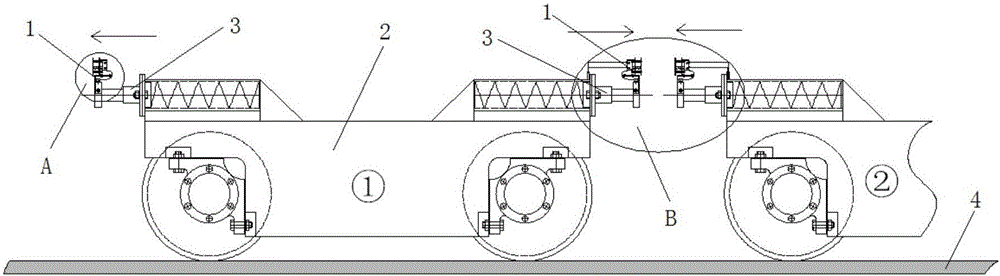
行车大车限位器图片
行车大车限位器图片,行车限位器实物安装图
起重机大车运行端梁 欧式行车行走梁 ld300轮端梁头
批量批发-起重机上升限位器/大车运行限位开关lx7-1型
如果有大车行走的话要有行走限位器.
一种行车大车限位装置制造方法及图纸,行车大车限位器
行车/天车/龙门吊行程开关/大车限位开关/lx10-12行程
更多推荐
行车限位器实物安装图
行车行程限位器
行车行走限位器
行车限位器图片
大车行走限位器
行车大车限位器接线图
汽车限位器图片
行车标志图片大全图片
行车图片全部图片
吊车大小钩限位器图片
吊车限位器安装图片
行车大车电阻接线图
各种限位器图片
限位器图片
限位器开关图片
限位器开关图片电路图
起重机行车图片
起重行车图片
行车遥控器图片
起重机的限位器图片
车间行车图片
塔吊限位器图片详解
行车图片
塔吊五大限位器位置
双梁行车图片
施工电梯限位器图片
窗户限位器安装图片
塔吊五限位图片
吊篮限位器图片及原理
限位板图片