首页
伤感说说
动漫配图
心情说说
抖音文案
伤感图片
伤感说说:
伤感的句子说说心情
空间说说
心情说说
爱情说说
女生伤感说说
人生感悟
心情不好的说说
说说带图片
关于生活的说说
说说心情短语
qq空间说说带图片
个性说说
励志名言
一句话经典语录
感悟人生的经典句子
短句吧
情感故事
抖音文案
伤感图片:
伤感图片带字
非主流伤感图片
唯美伤感图片
女生伤感图片
唯美意境图片
悲伤的图片
唯美意境伤感图片
只有字的伤感图片
说说图片
伤心的图片
美甲图片
图片大全
情感图片
微信头像男
动态壁纸
动漫配图
伤感图片
首页
>
气提原理动画演示
气提原理动画演示,空气提升器的原理图
jv8100 气流搅拌气升排泥装置
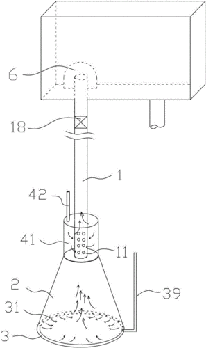
一种污泥气提装置的制作方法
一种气提排泥装置制造方法及图纸
气提排泥装置
一种旋流曝气气提污泥回流泵的制作方法
更多推荐
空气提升器的原理图
气提水泵图解
气提排泥装置
旋流沉砂器气提原理图
气提推水装置
气提器
气提装置原理
气提回流泵
气提式增氧推水机原理
旋流器工作原理演示图
污泥气提装置原理图
污泥气提装置原理
气提泵结构图
气液联动阀动画演示
旋流器动画演示
气举原理
气提推水装置原理图
旋流沉砂池气提原理
气提法
气提泵原理图
污水处理气提装置
气提装置
汽提塔工作原理动图
气提排泥装置原理图
气提泵提水原理图
气提原理
气提排泥装置原理
气提装置原理图
三通阀原理动画演示
飞机原理动画演示