首页
伤感说说
动漫配图
心情说说
抖音文案
伤感图片
伤感说说:
伤感的句子说说心情
空间说说
心情说说
爱情说说
女生伤感说说
人生感悟
心情不好的说说
说说带图片
关于生活的说说
说说心情短语
qq空间说说带图片
个性说说
励志名言
一句话经典语录
感悟人生的经典句子
短句吧
情感故事
抖音文案
伤感图片:
伤感图片带字
非主流伤感图片
唯美伤感图片
女生伤感图片
唯美意境图片
悲伤的图片
唯美意境伤感图片
只有字的伤感图片
说说图片
伤心的图片
美甲图片
图片大全
情感图片
微信头像男
动态壁纸
动漫配图
伤感图片
首页
>
摄像机稳定器原理
摄像机稳定器原理,摄像机稳定器
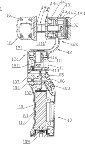
一种摄像稳定器制造技术,手机摄像稳定器专利_技高网
一种相机拍摄稳定器的制作方法
兰帕特la3d分体式线控手持稳定器 gopro和相机专用 三
99新 其它附件 斯坦尼康 铁三角pro 单反 专业摄像机 稳定器 5d2 5d3
一种摄像机稳定器的制作方法
更多推荐
摄像机稳定器
大型摄像机稳定器
手持摄像机稳定器
专业摄像机稳定器
索尼摄像机手持稳定器
相机稳定器
单反稳定器
智云手机稳定器
单反手持稳定器
手机稳定器怎么用
手机稳定器
斯坦尼康稳定器
稳定器云台
云台稳定器
稳定器
监控摄像机
摄像机
大疆手机手持稳定器
手持稳定器
三轴稳定器
云台摄像机
飞宇稳定器
专业摄像机
小蚁智能摄像机
智云稳定器
大型稳定器
智云稳定器说明书
摄像机效果图
半球摄像机
索尼摄像机