首页
伤感说说
动漫配图
心情说说
抖音文案
伤感图片
伤感说说:
伤感的句子说说心情
空间说说
心情说说
爱情说说
女生伤感说说
人生感悟
心情不好的说说
说说带图片
关于生活的说说
说说心情短语
qq空间说说带图片
个性说说
励志名言
一句话经典语录
感悟人生的经典句子
短句吧
情感故事
抖音文案
伤感图片:
伤感图片带字
非主流伤感图片
唯美伤感图片
女生伤感图片
唯美意境图片
悲伤的图片
唯美意境伤感图片
只有字的伤感图片
说说图片
伤心的图片
美甲图片
图片大全
情感图片
微信头像男
动态壁纸
动漫配图
伤感图片
首页
>
屋檐结构
屋檐结构,古建屋檐
福建古代实木屋檐物美价廉鼎匠木业精益求精
中式风格屋檐su模型下载【id:865067345】
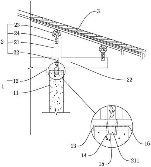
一种屋檐支撑结构的制作方法
中国古建筑中悬挑屋檐最远的斗栱佛光寺斗栱下昂解析配手绘图
一种屋檐装饰结构的制作方法
更多推荐
古建屋檐
飞檐结构
中国屋檐结构
屋顶结构
屋顶构造图
屋檐
屋檐线条
结构
仿古屋檐
屋檐古代
中式屋檐
高的结构
屋檐唯美
屋檐图片
屋檐下雨
屋檐的拼音
屋檐古风
屋檐雨滴
花的结构
屋檐效果图
屋檐线描
屋檐速写
仿古屋檐瓦
人体结构
故宫屋檐
屋檐绘画
心脏结构
结构胶
屋檐卡通
包的结构