首页
伤感说说
动漫配图
心情说说
抖音文案
伤感图片
伤感说说:
伤感的句子说说心情
空间说说
心情说说
爱情说说
女生伤感说说
人生感悟
心情不好的说说
说说带图片
关于生活的说说
说说心情短语
qq空间说说带图片
个性说说
励志名言
一句话经典语录
感悟人生的经典句子
短句吧
情感故事
抖音文案
伤感图片:
伤感图片带字
非主流伤感图片
唯美伤感图片
女生伤感图片
唯美意境图片
悲伤的图片
唯美意境伤感图片
只有字的伤感图片
说说图片
伤心的图片
美甲图片
图片大全
情感图片
微信头像男
动态壁纸
动漫配图
伤感图片
首页
>
光伏板安装安装方法
光伏板安装安装方法,光伏板安装图
哪种屋顶适合安装光伏电站?2022年真的没有补贴了吗?
安装光伏电站,绝不能忽视的几大误区!
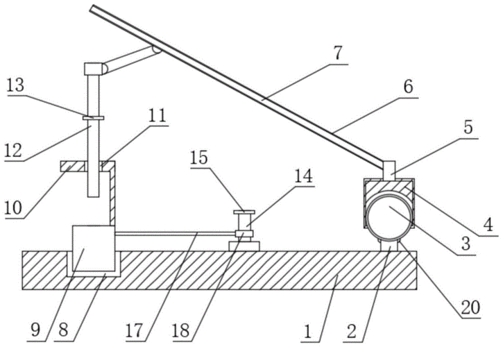
一种光伏发电板安装结构的制作方法
绿晶光伏在安徽安装分布式光伏发电站现场
红河光伏板安装
更多推荐
光伏板安装图
玻镁板安装图片
太阳能板安装图
光伏板安装
美岩板安装方法
鲁班球安装安装方法
安全座椅安装方法
太阳能板安装
太阳能板怎么安装
净化板安装
木饰面墙板安装方法
光伏板
空调内机挂板安装方法
美岩板安装
挡水板安装
屋顶光伏板
窗台板安装
蜂窝板安装
压型板安装示意图
铝镁锰板安装
木饰面板安装
alc板安装
羊床漏粪板安装方法
光伏阳光房
节流孔板安装方向图片
铝模k板安装固定图片
长城板安装
陶粒板安装
电箱绝缘板安装图片
光伏组件